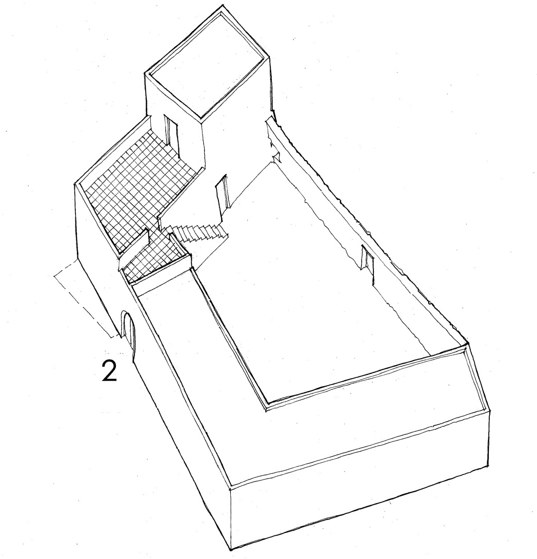
The sequence of construction of the Torri ta’ Lanzun components therefore is, in chronological order:

1. Chapel, Office at first floor and external stairs, in 1713;

Plate 10aPlate 10a

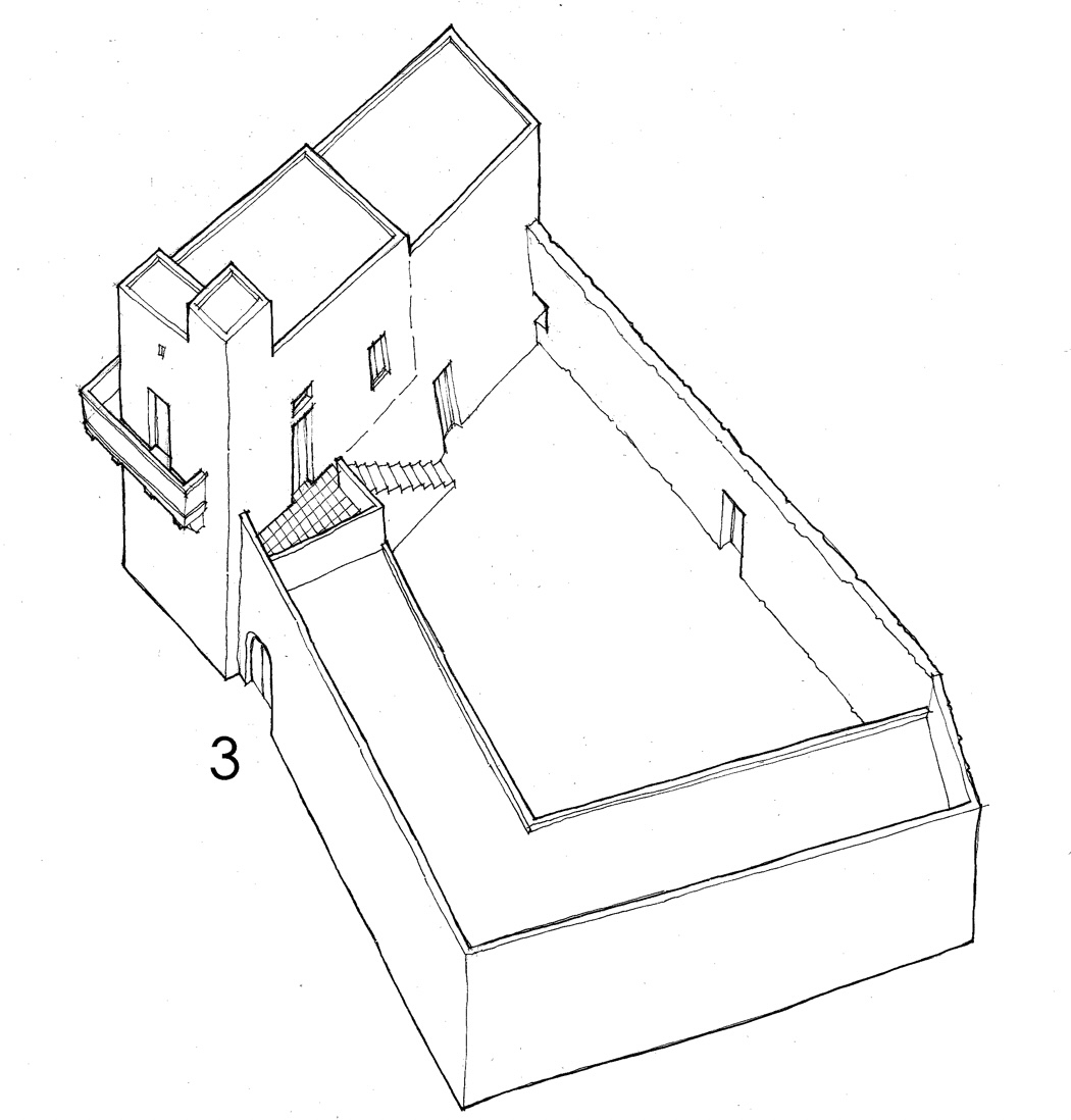
2. Knights’ Hall, and Kitchen including external length of wall containing main entrance to property, and including the bottom part of wall surrounding the Courtyard:

 

Plate 10bPlate 10b

3. Council Chamber including stone balcony, Stairwell to roof, and possibly the increase in height of Courtyard wall, including substantial thickening of external supporting wall at eastern end of Chapel;

Plate 10cPlate 10c

4. Toilet block at ground floor and opening of doorways in Entrance Hall: 1972.

Although the sequence given above can be defended, the precise dates of construction of most of the various bits, except for the Chapel and Office above, is unfortunately impossible to determine. There is one architectural element, however, which confirms the dating of the Kitchen, Knights’ Hall and Courtyard wall to post16 th century, and not to earlier periods as has been stated by others. This is the arch over the main doorway into the property, which shows no physical indication of having been constructed before or after the construction of the wall in which it is located, or indeed of any of the pre-twentieth century ground floor rooms. This arch is a three-centered arch, not a basic lintol or pointed or semi-circular arch (10). The shape of this arch required a fairly sophisticated level of geometric design (“stereotomy”) to permit its construction, unlikely to have existed in Malta before the advent of the Knights of Malta and their architects in 1530, and this further strengthens the argument that the ground floor of the building does not pre-date the 16 th century.

Plate 10Main Entrance Door